User guide

The complete user guide of the evaluation board can be found at EVAL-AD4884 User Guide.

Hardware guide

Input stage

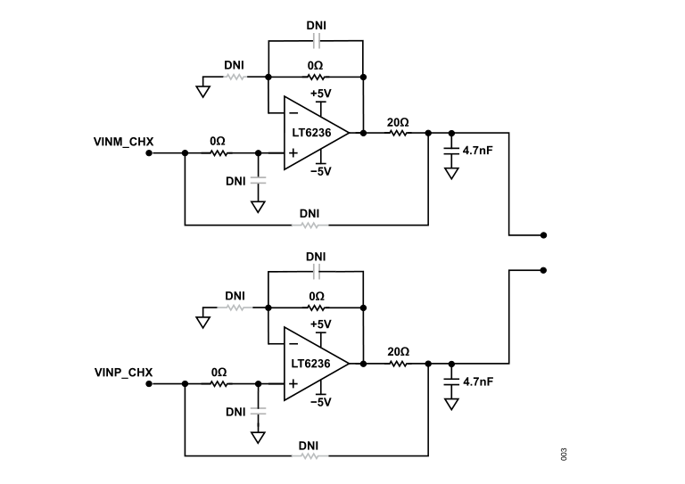
The input stage for each AD4884 channel consists of a pair of LT6236 op amps. The LT6236 is selected for its wideband (90 MHz), low noise, favorable distortion performance and low power consumption. The op amps are set up as unity-gain buffers, ensuring that a preceding signal source or sensor is presented with a high impedance. With supply rail values of +5 V and -5 V, the valid range at each input of this stage is -3 V to +3.7 V.

The input stage is designed to take in a fully-differential signal. With a differential voltage span of +/-2.91 V, the full span of the ADC is exercised. A single-ended signal can also be applied at the input, but modifications such as adding gain or a bias level to one of the op amps might be needed to exercise the full span of the ADC.

https://media.githubusercontent.com/media/analogdevicesinc/documentation/add_ad488x_fmc_evb_docs/docs/solutions/reference-designs/eval-ad488x-fmc/images/eval_ad4884_input_stage.png

Figure 1 Input stage simplified schematic for one channel

The following can be configured in the input stage:

  • Stage bandwidth

  • Additional band limiting through RC input filter and/or capacitors across amplifier feedback

  • Stage gain (unity gain by default, non-inverting gain setting available)

  • Stage bypass (no bypass by default, bypass via amplifier mezzanine card is an option for Channel A only)

Gain configuration

By default, the EVAL-AD488X-FMC is configured with a gain of 1.03x, and 220 pF capacitors fitted for noise filtering across the feedback network of the AD4884 on-chip FDAs. In this default configuration, an SNR of around 91.9 dB is typically expected.

Changing the gain at the AD4884 FDA stage requires light rework on the PCB (removing or adding 0402 SMD resistors and/or shorting 0402 solder pads). For the possible gain options and node shorting requirements, refer to the AD4884 data sheet.

Voltage reference

The AD4884 requires an external 3 V voltage reference. The ADC includes an internal reference buffer and capacitor, which simplifies reference selection and eliminates the need for an external buffer.

The following references are available on the evaluation board:

  • LTC6655-3 (default): exceptional noise performance (0.1 Hz to 10 Hz noise of 0.25 ppm p-p), initial accuracy of 0.025%, and low temperature drift of 2 ppm/C.

  • LT6657-3 (alternate option): also mounted on the board.

Table 1 3 V reference comparison

Parameter

LT6657

LTC6655

Accuracy

0.10%

0.025%

Temperature coefficient (ppm/C)

1.5

2

0.1 Hz to 10 Hz noise (ppm p-p)

0.5

0.25

Maximum load (mA)

+/-10

+/-5

Load regulation (ppm/mA)

0.7

3

Supply current (mA)

1.2

5

Power supply

The EVAL-AD488X-FMC is designed to operate from the 12 V and 3.3 V supplies provided from the host controller board via the FMC connector. The FMC supplies are regulated down using a combination of switching regulators and low dropout (LDO) regulators to generate the necessary power rails for the on-board circuitry.

https://media.githubusercontent.com/media/analogdevicesinc/documentation/add_ad488x_fmc_evb_docs/docs/solutions/reference-designs/eval-ad488x-fmc/images/eval_ad4884_power_tree.png

Figure 2 Evaluation board power tree

ADC power supplies

The AD4884 requires three major power supplies:

  • VDD33: 3.3 V analog supply rail

  • VDD11: 1.1 V ADC core supply

  • IOVDD: 1.1 V digital interface supply

The 1.1 V rails can be sourced from:

  • On-board LT3045 LDO regulators (default)

  • Internal AD4884 LDO regulator

  • Off-board external supply

The 3.3 V rail can be sourced from:

  • On-board LT3045 LDO regulator (default)

  • Off-board external supply

Amplifier power supplies

A +5 V rail (VDDAFE) and a -5 V rail (VSSAFE) are generated on the evaluation board. These rails power all analog front-end circuitry, which includes the four LT6236 discrete operational amplifiers in the input stage as well as the on-chip fully differential amplifiers inside the AD4884 (via the +VS and -VS pins).

Clock generation

The EVAL-AD488X-FMC contains the necessary circuits to generate low jitter data (CLK+/CLK-) and conversion (CNV+/CNV-) clocks across the full operating range of the AD4884.

The circuit consists of:

  • A 25 MHz CMOS reference oscillator

  • The ADF4350 wideband synthesizer

  • The AD9508 clock fan-out buffer

The synthesizer takes in the 25 MHz signal and produces a higher frequency output with a programmable multiplication factor. The output is then fed to the clock buffer, which generates the CLK and CNV signals with separate programmable frequency division factors.

https://media.githubusercontent.com/media/analogdevicesinc/documentation/add_ad488x_fmc_evb_docs/docs/solutions/reference-designs/eval-ad488x-fmc/images/eval_ad4884_clock_circuit.png

Figure 3 Simplified diagram of the clock circuitry

Digital interface

The EVAL-AD488X-FMC utilizes the FMC connector from the ZedBoard to support ADC device configuration via 4-wire SPI, conversion result access using the LVDS interface, and conversion control in LVDS mode.

The AD4884 operates with a 1.1 V digital interface supply voltage. To translate between this 1.1 V level and the digital interface voltage level of the ZedBoard (VADJ), SN74AVC1T45DCKR bidirectional level translators are used on the evaluation board.

Schematic, PCB layout, bill of materials

Description

Download

Design files (schematics, PCB layout, bill of materials)

eval_ad4884_fmcz_design_files.zip

Software guide

The EVAL-AD488X-FMC hardware is controlled and configured through the ACE Software. ACE is a desktop software application that allows the evaluation and control of multiple evaluation systems. The controller board supported by ACE with the EVAL-AD488X-FMC is the ZedBoard.

The evaluation board is also supported with the Libiio library. This library is cross-platform (Windows, Linux, Mac) with language bindings for C, C#, Python, and others. Applications that can be used with it are:

ADI IIO Oscilloscope

The IIO Oscilloscope is a cross-platform application for interfacing with IIO devices, enabling you to configure device parameters and visualize data.

Important

Make sure to download/update to the latest version of IIO Oscilloscope.

For Linux

Remote run on host

The IIO Oscilloscope application can be used to connect to another platform that has a connected device, to configure the device and read data from it. This application is not for performance testing, but rather showcasing the basic features.

Please see IIO Oscilloscope documentation for installation steps and more details.

Build and start osc on a network-enabled Linux host. For Windows computers, open the application from the start menu.

Once the application is launched, go to Settings > Connect > URI and type “ip:” then the IP address of the target in the pop-up window. This IP can be found out with a command from the previous section of this documentation.

Scopy

Scopy is a cross-platform software toolbox for interfacing with ADI devices, enabling you to configure device parameters, visualize data, and perform advanced signal analysis.