AD-ACEVSECRDSET-SL

Type 2 EVSE 3.6 kW Charging Cable.

Introduction

The AD-ACEVSECRDSET-SL is a complete Type 2 EVSE 3.6kW charging cable solution, providing a reference design intended for evaluation and prototyping of EV charging systems.

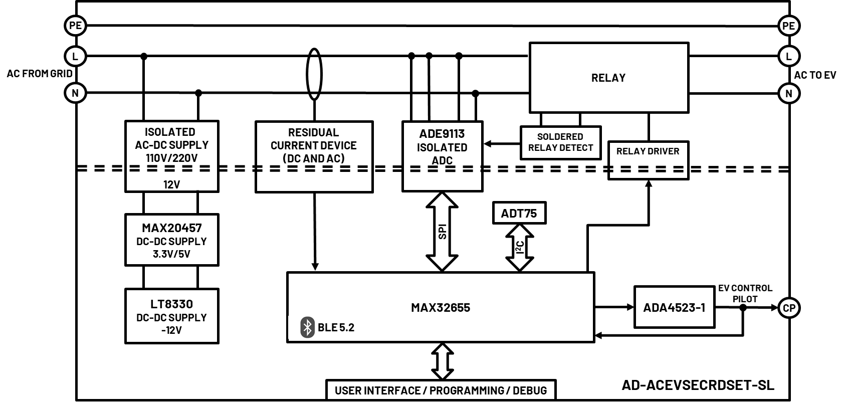
The system includes the ADE9113 3-channel isolated sigma-delta (Σ-Δ) ADC for voltage and current measurement on the single-phase power input and measurement of the relay voltage for solder contacts detection and relay state of health. Safe operation is enabled by the inclusion of a 6mA DC / 30mA rms RCD. Detection of overvoltage, undervoltage, overcurrent, overtemperature, and EV diode presence are also available.

The MAX32655 ultralow power ARM® Cortex®-M4 processor implements the logic for system control and communication with the EV over the control pilot interface. A programming and debugging interface are included. The MAX32655 Bluetooth 5.2 interface enables connectivity to external devices.

The design is accompanied by an open-source software stack and reference applications, enabling custom software development to start from a proven implementation validated to meet the applicable standards. The system is designed to meet the IEC61851 and IEC62752 standards.

https://media.githubusercontent.com/media/analogdevicesinc/documentation/dac_fmc_ebz/docs/solutions/reference-designs/ad-acevsecrdset-sl/ad-acevsecrdset-sl_angle.jpg

Figure 1 AD-ACEVSECRDSET-SL Type 2 EVSE Cordset Evaluation Kit

Features

  • Complete reference design for Type 2 EVSE Cordset (IC-CPD)

  • Power level from 2.3kW up to 3.6kW (at 230V)

  • Designed to meet the applicable standards: IEC61851, IEC62752

  • Incorporates a 6mA DC/30mA rms RCD and a control pilot circuit

  • Relay soldered contacts detection

  • Upstream and downstream PE detection

  • Overtemperature detection

  • Integrated isolation

  • Reduced component count for cost optimization

  • Bluetooth 5.2 interface for connectivity to external devices

  • Open-source software stack to enable custom firmware development

Applications

  • EV Charging

Block Diagram

https://media.githubusercontent.com/media/analogdevicesinc/documentation/dac_fmc_ebz/docs/solutions/reference-designs/ad-acevsecrdset-sl/block_diagram_new.png

Figure 2 AD-ACEVSECRDSET-SL Simplified Block Diagram

Specifications

Electrical Specs

Power

3.6kW

Input voltage

230V +/-15% or 120V +/-15%

Input current

16A

Input frequency

50Hz / 60Hz

Output voltage

230V +/-15% or 120V +/-15%

Output current

10A/16A

Output frequency

50Hz / 60Hz

Operating Conditions

Operating temperature

-25°C to +45°C

Residual current device

6mA DC / 30mA rms

Safety Features

Overvoltage category

II

Protection features

Relay soldered contacts detection

Overvoltage

Undervoltage

Overcurrent

Overtemperature

Other features

Integrated isolation

Diode detection

Upstream and downstream PE detection

User Interface & Control

Communication

Bluetooth 5.2

Status Indicators

LEDs

Debugging

RS-232

Designed to the following standards

IEC 61851, IEC 62752

System Setup

Software Resources

Design and Integration Files

Download

AD-ACEVSECRDSET-SL Design & Integration Files (Rev E)

  • Schematics

  • PCB Layout

  • Bill of Materials

  • Allegro Project

Help and Support

For questions and more information, please visit the EngineerZone.