AD9084-FMCA-EBZ (Apollo)
16-bit, 28 GSPS, RF DAC core, and 12-bit, 20 GSPS RF ADC
Overview

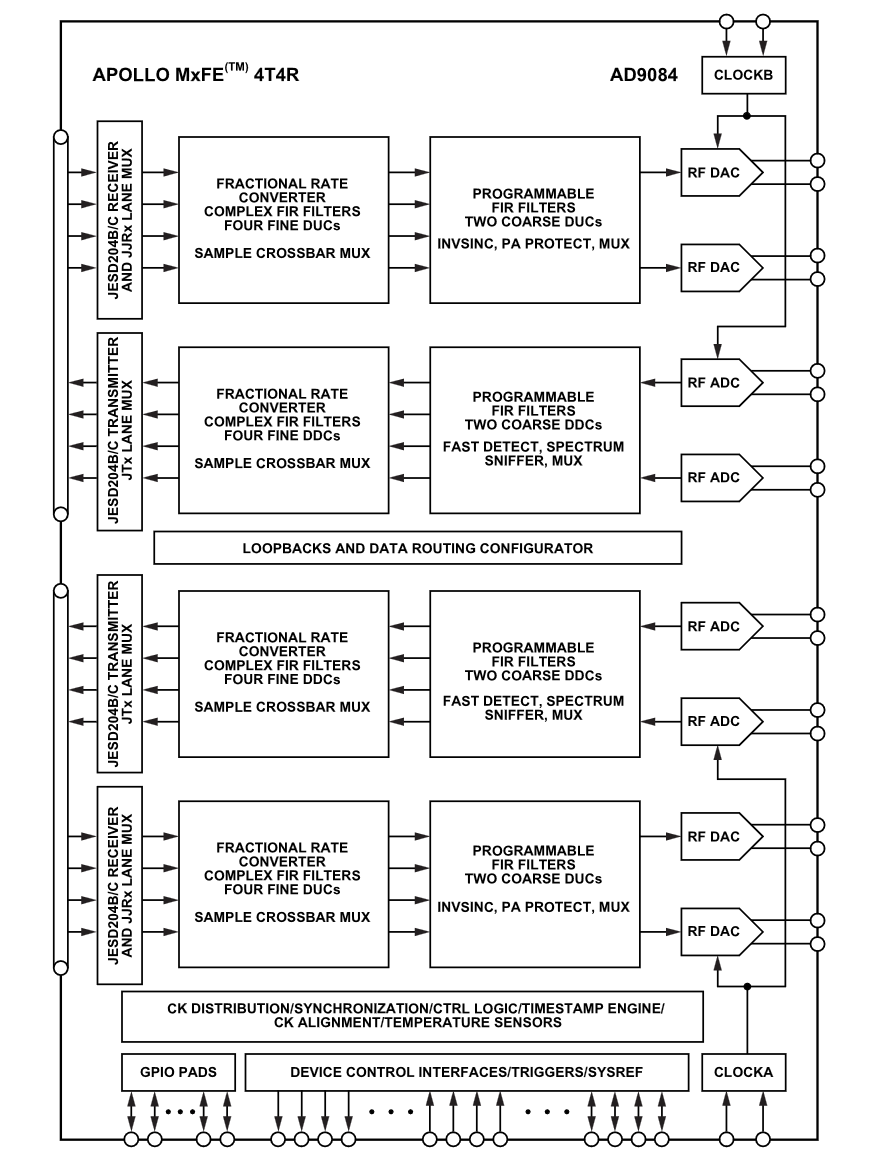
The Apollo mixed signal front-end (MxFE®) is a highly integrated device with a 16-bit, 28 GSPS maximum sample rate, RF digital-to-analog converter (DAC) core, and 12-bit, 20 GSPS maximum sample rate, RF analog-to-digital converter (ADC) core. The AD9084 supports four transmit channels and four receive channels. The AD9084 is well suited for applications requiring both wideband ADCs and DACs to process signal(s) having wide instantaneous bandwidth. The device features a 48 lane, 32.5 Gbps JESD204C or 20 Gbps JESD204B data transceiver port, an on-chip clock multiplier, and a digital signal processing (DSP) capability targeted at either wideband or multiband, direct to RF applications. The AD9084 also features a bypass mode that allows the full bandwidth capability of the ADC and/or DAC cores to bypass the DSP data-paths. The device also features low latency loopback and frequency hopping modes targeted at phased array radar systems and electronic warfare applications.
Table of Contents
People who follow the flow that is outlined, have a much better experience with things. However, like many things, documentation is never as complete as it should be.
Use the board to better understand the AD9084
Design with the AD9084
Design a custom AD9084 based platform
Linux software
Pre-requisites and quickstart
The prerequisites and quickstart guides are provided at:
Functional Block Diagram

Warning
All the products described on this page include ESD (electrostatic discharge) sensitive devices. Electrostatic charges as high as 4000V readily accumulate on the human body or test equipment and can discharge without detection. Although the boards feature ESD protection circuitry, permanent damage may occur on devices subjected to high-energy electrostatic discharges. Therefore, proper ESD precautions are recommended to avoid performance degradation or loss of functionality. This includes removing static charge on external equipment, cables, or antennas before connecting to the device.